AT88SC0104当前安全性能最高的安全存储器件,与AT88SC1608和AT88SC153相比,最突出的特点是所有传送数据为密文传送,确保了存储数据的安全性。ATMEL公司现已建议在新产品开发中不再使用AT88SC1608和AT88SC153。事实上,AT88SC0104C~25616C与AT88SC1608、AT88SC153有很多相似之处,如访问权限寄存器和写锁控制寄存器等。AT88SC0104C~25616C协议认证卡系列中各器件的操作原理完全相同,各配置区随卡的容量而变化。
1.主要特点
(1)工作电压为2.7~5.5V;时钟频率最高为1.5MHz;符合ISO/IEC 7816-3同步协议。
(2)256×8 bit配置区,4×32×8bit~16×2048×8bit存储单元。可将具有相同安全等级且相同密码的多个应用分区合并使用。每个分区分别受读密码、写密码控制(8套密码、每套中读密码、写密码各1个,每个密码3字节),错误计数8次。如将用户分区合并,则读写密码指向同一套密码。
(3)数据安全防护功能:64bit认证协议;密文和校验方式;密文流传送方式;协议认证错误计数;读写访问控制密码;密码错误计数器;可按分区配置访问权限;电压和时钟频率监视。
(4)重复擦写次数:100,000次,数据保存:100年。
2.封装形式和引脚
AT88SC0104C~25616C协议认证卡的封装形式和引脚功能如图1所示。
卡片封装 DIP-8和SO-8封装
3.AT88SC0104C~25616C协议认证卡的存储器构成
存储分区 0 1 2 3 4 5 6 7 地址
用户分区 0~P 32~2048字节 000H~QH
配置区 256字节 00H~FFH
注:P为用户分区最大编号,0~15;Q为最大字节地址,018H~7F8H。
具体访问哪个分区由选择的分区号确定。用户分区存储器的访问受控制逻辑电路的控制,保护功能在初始化时(即发行)由配置区的访问权限寄存器AR、密码权限寄存器PR和密码来配置。
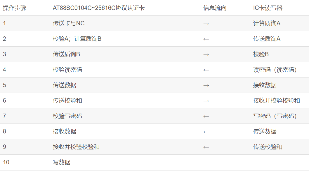
4. 协议认证过程
AT88SC0104C~25616C协议认证卡的协议认证过程与AT88SC1608相似。与AT88SC1608相比,其协议认证过程(即步骤1~3)是相似的。在传送密文数据时由于传送了校验和,使得数据的安全性更高。AT88SC0104C~25616C协议认证卡的协议认证过程如下:

AT88SC0104C~25616C协议认证卡与IC卡读写器之间有三种基本通信模式,上电后缺省配置下为标准模式。成功的认证操作激活认证模式。认证操作成功后激活加密模式。
AT88SC0104C~25616C协议认证卡的通信加密模式:

我司目前已经实现对该系列芯片解密,如有需要,欢迎咨询。